【NL型立式泥漿泵】型號意義:
【NL型立式泥漿泵】主要用途:
1、NL型多用液下泵系單級單吸離心泵,使用于礦山、造紙、印染、環(huán)保、石墨、云母、黃金、陶瓷、煉油、石油、化工、農場、鹽場、碘場、染化、釀酒、食品、化肥、焦化選廠、建筑、大理石廠、金礦、泥漿、流沙、泥塘、污塘、污濁液送吸濃漿稠液、裝料及懸浮物質的污水作業(yè),也可作煤礦排水及含有泥塊的流體。
2、若與高壓水泵,水槍配合,組成水力機械化土方工程機組,就可用作于土地平整,河道與池塘的疏浚、鑿開等小型水利工程的挖方與輸方,以及城市的防空工程,以下工程。
3、養(yǎng)魚用作帶水清塘、魚池增氧等
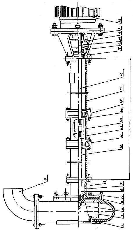
【NL型立式泥漿泵】結構圖:

| 序號 | 型式/另件名稱 | NL,NLF,NW |
編號 | 數量 | 備注 |
1 | 網罩 | 1 | 1 |
|
2 | 葉輪螺母 | 2 | 1 |
|
3 | 葉輪 | 3 | 1 |
|
4 | 泵殼 | 4 | 1 |
|
5 | 泵座 | 5 | 1 |
|
6 | 0型圈 | 6 | 1 | 改進型用機械密封 |
7 | 油封 | 7 | 4 | 改進型用機械密封 |
8 | 軸套 | 8 | 1 | 改進型用機械密封 |
9 | 出水彎頭 | 9 | 1 |
|
10 | 泵軸 | 10 | 1 |
|
11 | 軸承 | 11 | 2 |
|
12 | 從動聯軸器 | 12 | 1 |
|
13 | 主動聯軸器 | 13 | 1 |
|
14 | 聯接筒 | 14 | 1 |
|
15 | 軸承座 | 15 | 2 |
|
16 | 聯接軸 | 16 | 1 |
|
17 | 支撐筒 | 17 | 2 |
|
18 | 軸承蓋 | 18 | 1 |
|
19 | 從動聯軸器 | 19 | 1 |
|
20 | 電機座 | 20 | 1 |
|
21 | 電機座C | 21 | 1 | 帶固定板用 |
22 | 主動聯軸器 | 22 | 1 |
|
23 | 電動機 | 23 | 1 |
|
24 | 彈性塊 | 24 | 1 |
|
【NL型立式泥漿泵】安裝示意圖:
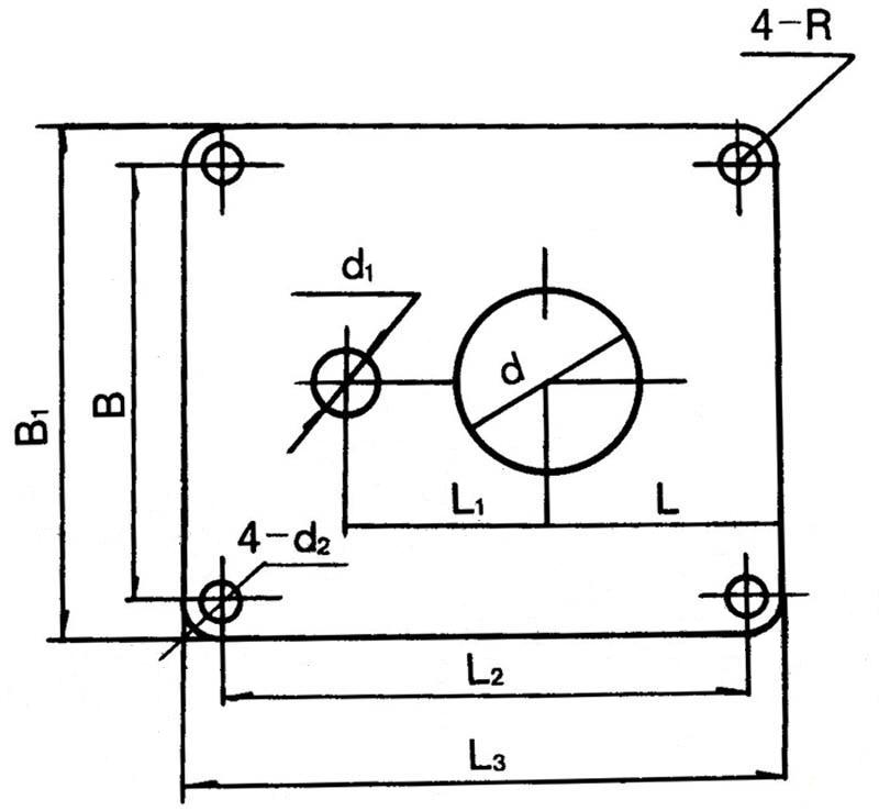
【NL型立式泥漿泵】安裝盤尺寸圖:
【NL型立式泥漿泵】安裝與拆卸:
(一)、拆卸
1、拆卸電鈄或面定板,出水管。
2、拆卸蝸殼和葉輪蝶每,輕擴葉輪背面,拆鍵葉輪。
3、拆凼從動半聯軸器,再拆卸鍵、然后把電機座拆卸,與支撐筒分離。
4、拆卸泵座與支撐筒螺栓,使其分幵。
5、從軸上拆卸軸套與軸承。
(二)、安裝
1、對所有零件進行檢査是否有缺損,所有紙墊兩面都要涂一層簿黃油,在軸承內加上三分之二黃油。
2、骨架油封必須注滿黃油后放入泵座,再裝上軸承。
3、軸套內裝上0型密封圈后涂上黃油。
4、把承裝在電機座上,放上紙墊,擋油圈,裝上軸與支撐筒用螺釘固定。
5、放上紙墊,裝上軸承、軸套、鍵、泵座和葉輪,旋緊葉輪螺母后用手旋轉葉輪,轉動靈活即可。
6、放上紙墊裝上泵殼,用螺釘固定并裝上濾網。然后再用手拔動葉輪,轉動靈活即可。
7、泵軸上裝上鍵和從動聯軸器,在電機軸上裝上鍵與主動聯軸器,然后將電機與電機座螺栓固定。裝好后要求與主動聯軸器與從動聯軸器之間軸向間隙應為1~1.5毫米。
【NL型立式泥漿泵】故障原因及排除方法:
現象 | 產生原因 | 排除方法 |
不 啟 動 與 運 轉 | 1、饋電線有斷路。 2、電壓太低。 3、兩個半聯軸器間無軸向間隙并卡死。 4、葉輪被雜物卡住。 5、葉輪與蝸殼緊貼。 6、螺帽脫落和平鍵損壞使葉輪打滑。 7、聯軸器平鍵損壞。 | 1、查看熔斷保險絲和接線,并更換之。 2、調高電壓或等電壓升高后再用。 3、調整兩個半聯軸器之間軸向間隙為0.5毫米。 4、排除雜物。 5、重新裝配,分離葉輪和蝸殼。 6、安裝平鍵與螺帽。 7、換裝平鍵。 |
超 負 荷 | 1、泵各部裝配不當,轉動困難,異物卡住。 2、同心度變動,軸承損壞,軸變形。 3、旋向相反。 4、揚程過低,流量過大。 | 1、重新裝配,取出異物。 2、修正零件,調換軸承。 3、變換電機旋向。 4、盡量避免長時間使用。 |
流 里 不 足 | 1、吸口被阻,泥潭糞坑欠深,泵吸不到泥糞。 2、輸泥管被阻。 3、電機轉速低于額定轉速。 4、葉輪打壞。 5、揚程過高,輸送過遠。 6、旅向相反。 7、泄漏較大。 8、葉輪上繞有雜物。 、 9、介質太稠或供應量不路。 | 1、排除吸口阻檔物,移動泵,使蝸殼全部埋入泥漿糞水中。 2、檢査管道,取出阻檔物。 3、提高電機轉速。 4、調換葉輪。 5、減少揚程,縮短輸送距離。 6、改換電機旋向。 7、檢查泄漏原因,并更換引起泄漏的另件。 8、排除雜物。 9、沖稀介質,增大供應量。 |
噪 聲 與 震 動 | 1、葉輪與蝸殼磨擦。 2、軸承已損壞或少油。 3、泵軸與電機不同心,軸彎曲。 4、螺帽有松動。 5、蝸殼中有雜物。 6、工作液中有硬物。 7、吸口有空氣滲入。 8、汲送液體溫度過高。 | 1. 檢查泵的裝配并調整之。 2. 調換軸承或加油。 3. 調同心,校正軸。 4. 擰緊螺帽。 5. 排除雜物。 6. 控制進泵雜物尺度,加密濾網。 7. 深埋蝸殼。 8. 降低液體溫度。 |